
<가상 면접 사례로 배우는 대규모 시스템 설계 기초>라는 책을 읽으면서 기억해두고 싶은 부분을 포스트를 통해 정리해보자. 지금까지 내가 설계하고 개발한 서버는 단일 클라우드 서버에 단일 데이터베이스, 그 사이에 캐시정도까지가 내가 제대로 설계하고 개발해본 경험이다. 하지만 이 책에서는 대규모 서버부터 확장성을 고려한 서버까지에 대한 내용을 어떻게 설계할 것인지 가이드라인을 제시해준다.
일단 가장 기초적이고 개발자들이 처음 개발하면 대부분 단일 서버로 시작할 것이다. 단일 서버는 여러 컴포넌트들이 하나의 컴퓨터에서 실행되는 것을 의미한다. 
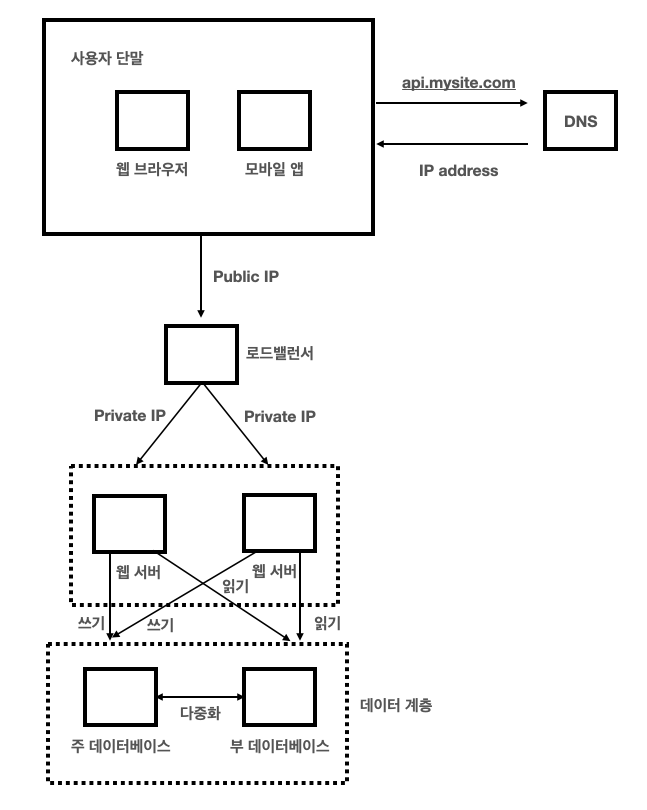
위의 그림은 웹 브라우저 혹은 모바일앱(사용자)이 도메인 이름을 통해 웹사이트에 접속하는 과정을 보여준다. 사용자는 DNS에 도메인 이름을 질의하여 서버의 IP 주소를 받고 해당 IP에 HTTP 요청을 보낸다. 서버는 해당 요청을 받고 HTML이나 Json 형태의 응답을 보내준다.
이렇게 단일 서버에서 규모가 확장되면 트래픽 요청 웹 서버와 데이터베이스 서버를 분리할 수 있다.

이렇게 트래픽을 처리하는 웹 서버와 데이터를 처리하는 데이터베이스 서버를 분리하게 되면 각각의 역할에 집중할 수 있고 확장할 수 있다.
이때 중요한 점은 어떤 데이터 베이스를 사용할 것인가이다. 데이터 베이스는 크게 관계형 데이터베이스 시스템(RDBMS)와 비관계형 데이터베이스 사이에서 고를 수 있다.
관계형 데이터베이스에는 MySQL, Oracle, PostgreSQL 등이 있다. 관계형 데이터베이스는 자료를 테이블과 열, 컬럼으로 표현하고 SQL을 사용하여 여러 테이블을 관계에 따라 조인하여 합칠 수 있다.
비 관계형 데이터베이스는 NoSQL로 불리며 MongoDB, CouchDB, Amazon DynamoDB, Cassandra 등이 있다. NoSQL은 크게 4가지로 나눌 수 있는데 키-값 저장소, 그래프 저장소, 컬럼 저장소, 문서 저장소로 나눈다. NoSQL은 조인 연산은 지원하지 않지만 최근들어 비정형적인 데이터를 많이 사용하고 빅데이터, AI 등의 기술이 발전하면서 많은 양의 데이터를 처리하게 되면서 발전해오고 있다.
과거에는 대부분 관계형 데이터베이스를 사용했다. 현재도 많은 곳에서 사용하고 있지만 다음과 같은 점 때문에 비관계형 데이터베이스를 사용한다.
이제까지 단일 서버에서 데이터베이스를 분리한 서버까지 알아보았다. 하지만 규모가 더욱 커질 수록 확장성 있는 설계가 필요하다. 규모를 확장하는 프로세스에는 수직적 확장과 수평적 확장이 있다. 수직적 확장을 컴퓨터의 사양의 높여 트래픽을 많이 처리할 수 있도록하는 것이다. RAM이나 CPU, 저장소 등의 사양을 높여 높은 처리율을 달성할 수 있게 만들어 성능을 개선하는 방식이다.
그러나 수직적 규모 확장에는 한계가 존재한다. 하나의 서버 컴퓨터를 아무리 좋은 부품으로 교체한다고 하더라도 CPU나 메모리에는 한계가 존재한다. 또한 한 대의 컴퓨터를 이용하기 때문에 장애에 대한 자동복구 방안이나 다중화 방안을 제시하지 않는다. 따라서 서버에 장애 발생시 해당 서버 웹사이트/앱은 완전히 중단된다.
수평적 규모 확장은 여러 대의 서버를 두어 많은 트래픽을 분산하여 처리하는 프로세스이다. 이는 장애가 발생해도 장애가 발생한 서버에 요청하는 트래픽을 다른 서버에서 처리할 수 있기 때문에 자동복구가 가능하다. 이 때문에 대규모 어플리케이션을 지원하는 데는 수평적 규모 확장법이 적절한다.
하지만 수평적 규모 확장에는 문제가 존재한다. 여러 대의 서버가 존재하지만 한 곳에 트래픽이 몰리면 해당 서버가 다운되고 또 다른 서버에 요청이 몰리면 또 다운되는게 반복되는 것 아닌가? 이러한 문제를 해결하기 위해서 사용자와 서버 사이에 두는 것이 로드밸런서이다.

로드밸런서는 부하 분산 집합에 속한 웹 서버들에게 트래픽 부하를 고르게 분산시켜주는 역할을 한다. 사용자가 public IP를 통해 서버에 요청을 하면 로드밸런서는 서버 상황에 알맞게 private IP로 요청을 보내준다.
로드밸런서를 사용하게 되면 서버 하나가 다운이 되더라도 다른 서버로 요청이 가도록 할 수 있어 서비스가 다운되는 것을 막아준다. 또한 가동하고 있는 서버로 처리할 수 없는 양의 트래픽이 몰리게 되면 자동으로 서버를 추가하여 트래픽을 분산 처리할 수 있게된다. 이렇게 트래픽을 분산처리할 수 있게 되면서 장애복구 문제를 해결하고 가용성을 높일 수 있게 되었다.
로드밸런서를 통해 트래픽을 분산 처리할 수 있게되었지만 여러 서버가 하나의 데이터베이스를 사용하면 어떤 문제가 있을까? 트래픽이 많아져서 서버를 다중화하였는데 그만큼 DB에도 트래픽이 몰릴 것이다. 이렇게 되면 아까와 같은 장애복구와 다중화 문제가 발생한다. 따라서 데이터베이스도 수평적 확장을 실행해야하는데 웹 계층의 확장과는 차이점이 존재한다.

데이터베이스를 다중화하면 대부분 주-부 관계를 설정하고 데이터 쓰기연산과 읽기 연산을 하는 데이터베이스를 나누다. 주(master, primary, main) 데이터베이스에만 쓰기 연산을 지원하고 부(slave, secondary, replica)에는 읽기 연산만을 지원하여 더 나은 성능을 제공할 수 있다. 왜냐하면 대부분의 연산은 읽기 연산이다. 따라서 읽기 연산을 여러 부 데이터베이스에 처리하고 쓰기 연산만 주 데이터베이스에서 처리하게 되면 병렬로 처리할 수 있는 질의 수가 늘어나 성능이 좋아진다. 또한 데이터베이스가 위치한 지역에 자연재해 등의 이유로 데이터가 없어져도 다른 지역에 데이터베이스를 다중화시켜 놓으면 데이터를 보존할 수 있다.
로드밸런서가 서버가 한대가 다운되어도 다른 서버에 트래픽이 가도록하여 가용성을 높인다고 했다. 그러나 데이터베이스는 주-부 관계가 있기 때문에 각각의 데이터베이스에 따라 복구 방안이 다르다. 만약 부 데이터베이스가 다운되었고 부 데이터베이스가 더 존재하지 않는다면 주 데이터베이스가 읽기 연산도 처리한다. 부 데이터베이스가 여러 대라면 새로운 부 데이터베이스가 연산을 처리할 것이다.
만약 주 데이터베이스에 장애가 발생했고 부 데이터베이스가 하나라면 남은 하나의 부 데이터베이스가 주 데이터베이스의 역할을 하게되어 쓰기연산과 읽기 연산을 처리한다. 그리고 새로운 부 데이터베이스가 생성되고 데이터를 복사할 수 있도록 데이터 복구 스크립트를 돌려 데이터를 저장한다. 다중 마스터나 원형 다중화 방식을 도입하면 더 효율적이게 장애 복구가 가능할 것이다.

이렇게 로드밸런서와 웹 서버 다중화를 통해 웹계층의 가용성을 높이고 데이터베이스 다중화로 데이터 계층까지 가용성을 높여 서비스 안정성과 가용성을 높였다. 이제는 응답 속도를 개선해보자. 어느 부분에서 응답속도를 줄일 수 있을까?
서버와 데이터베이스에 캐시를 두게 되면 자주 조회되는 데이터나 값비싼 연산 결과를 빠르게 메모리를 통해 조회할 수 있어 응답속도를 개선할 수 있게된다. 예를 들어 웹 페이지의 새로 고침을 하게되면 데이터를 새로 불러와야 한다. 새로고침을 여러번 동시에 요청하면 데이터베이스에 같은 질의가 여러번 반복되고 응답속도가 느려질 수 있게 된다. 하지만 캐시를 통한다면 해당 문제를 해결 할 수 있다.
캐시 계층은 데이터가 잠시 보관되는 곳으로 데이터베이스보다 훨씬 빠르다. 캐시를 웹 서버와 데이터베이스 사이에 두어 데이터를 조회하게 되면 데이터베이스 부하를 줄이고 응답속도를 개선할 수 있다.
캐시를 동작 과정을 보면 웹 서버가 데이터를 요청할 때 캐시에 해당 데이터가 존재하면 해당 데이터를 반환하고 없으면 데이터베이스에 데이터를 조회하여 캐시에 저장하고 해당 데이터를 반환하는 형식이다. 이러한 캐시 전략을 읽기 주도형 캐시 전략이라 부르는데 이외에도 캐시할 데이터의 종류, 크기, 액세스 패턴에 맞는 캐시 전략을 선택하면 된다.
캐시를 사용할 때 유의해야할 점들이 존재한다. 어떤 상황에 캐시를 두어야할까? 캐시는 휘발성이라는 특징이 존재한다. 따라서 중요한 데이터나 영구적으로 필요한 데이터는 캐시에 저장하지 않고 지속적 저장소에 두어야 한다.
캐시에 보관된 데이터는 언제 만료시키면 좋을까? 만료된 데이터는 캐시에서 삭제시키도록 정책을 만들어야 한다. 만약 만료된 데이터가 삭제되지 않고 캐시에 계속 저장되어있으면 캐시의 크기가 커지게 되고 성능저하로 이어질 수 있다. 반면 만료시간이 너무 짧게 되면 데이터베이스를 자주 읽게 되어 성능 개선 효과가 미미하게 될 것이다. 너무 길게 되면 데이터베이스의 데이터와 캐시 사이의 데이터가 불일치하는 가능성이 높아질 것이다.
일관성을 어떻게 유지시킬 것인가? 데이터베이스와 캐시 데이터가 일치하는지에 대한 여부가 일관성을 의미한다. 만약 한 트랜잭션을 통해 캐시에 데이터가 저장되고 데이터베이스에 저장된다면 문제가 크게 있지 않을것이다. 하지만 여러 서버와 데이터베이스를 이용한다면 한 트랜잭션으로 데이터를 관리하는 것은 어렵다. 따라서 어떻게 일관성을 유지할 것인지에 대한 정책이나 방안을 마련해야 한다.
장애는 어떻게 대처할 것인가? 캐시 서버가 하나인데 해당 캐시 서버에 장애가 발생하면 해당 장애가 전파될 수 있다. 따라서 캐시 서버를 여러 대를 두어 장애에 대처해야할 것이다.
캐시 메모리는 얼마나 크게 해야 하는가? 캐시는 메모리를 통해 조회된다고 했다. 만약 메모리를너무 작게 하면 액세스 패턴에 따라서는 데이터가 자주 밀려나 캐시의 성능이 떨어진다. 따라서 얼만큼의 크기를 할당해야 최적의 효율이 나올지에 대한 고민이 필요하다.
데이터 방출 정책은 어떻게 할 것인가? 캐시가 꽉차게 되면 데이터를 삭제해야 다음 데이터를 저장할 것이다. 어떻한 방식으로 데이터를 삭제할 것인지에 대해 정책을 설정해야 한다. LRU, LFU, FIFO 등의 정책을 고려하여 가장 적합한 정책을 선택해야한다.
CDN은 정적 콘텐츠를 전송하는 데 쓰이는, 지리적으로 분산된 서버의 네트워크이다. 정적 콘텐츠에는 이미지, 비디오, Js, Css 등이 있다. 이러한 정적 콘텐츠를 사용자가 요청하면 가장 가까운 CDN 서버가 해당 데이터를 제공한다. 예를 들어 CDN서버가 중국과 미국에 있다고 하면 서울 사용자가 데이터를 요청하면 중국에 있는 CDN 서버에 있는 데이터가 제공될 것이다. 이렇게 지리적으로 가까이 있는 CDN 서버에서 가져오면 다른 CDN 서버에서 데이터를 가져올 때보다 응답 속도가 빠를 것이다.


CDN 서버는 하나의 캐시 서버이다. 사용자가 데이터를 요청하면 가장 가까운 CDN 서버에 해당 데이터가 있으면 해당 데이터를 반환하고 없으면 원본 서버에 데이터를 요청할 것이다. 이때 원본 서버는 데이터베이스가 될 수도 있고 AWS S3 등이 될 수 있다. 원본 서버에서 해당 데이터를 반환하고 CDN 서버에 해당 데이터가 저장되고 사용자에게 반환된다.
이렇게 CDN 서버가 동작하는 방식은 캐시와 굉장히 유사하다. 따라서 유의해야 할 점도 비슷한데 언제 데이터를 만료시킬지도 중요하고 비용도 고려해야 한다. 또한 장애 대응 방안도 중요할 것이다. 넷플릭스나 이미지나 비디오를 많이 다루는 서비스일 경우 이러한 CDN 서버가 응답 속도에 굉장히 큰 영향을 미칠 것이다.
HTTP은 무상태라는 속성을 가지고 있다. 따라서 세션 같은 정보를 저장해두어야 하는데 서버에 내부에 해당 정보를 저장하고 있게되면 다중 서버일 경우 오류가 발생한다. 따라서 이러한 상태 정보를 데이터베이스에 보관하고 필요할 때 가져오도록 하는 것을 무상태 웹 계층이라고 한다.
상태 정보를 보관하는 서버와 그렇지 않은 서버 사이에는 차이가 존재한다. 상태 정보를 저장하는 해당 클라이언트의 정보를 저장하고 있는 서버만 해당 클라이언트 요청을 처리할 수 있어 로드밸런서가 해당 클라이언트가 어떤 서버로 보내야할지 판단하는 기능이 있어야 한다. 그러나 이 기능은 로드밸런서에게 부담이 되고 서버를 추가하거나 제거하기도 어렵다.
따라서 어떤 클라이언트든 아무 서버에 요청할 수 있도록해야 하는 방법이 있어야 한다. 그 방법이 공유 저장소이다. 공유 저장소를 통해 상태 정보 저장소와 웹 서버를 분리하여 역할과 책임을 분명시 하고 단순하고 안정적인 설게를 할 수 있게된다.

이렇게 설게를 하게되면 세션 데이터를 웹 계층에서 분리하고 지속성 데이터 보관소에 저장하도록 하였다. 공유 저장소는 관계형 데이터베이스, 캐시, NoSQL 일 수도 있다. 위의 그림에서는 NoSQL을 통해 세션 정보를 저장하였는데 확장성과 세션 데이터의 특성을 생각해서 NoSQL 시스템을 적용하였다..
이제는 서비스를 전세계에서 사용한다고 가정해보자. 유럽의 사용자와 아시아의 사용자가 모두 서비스를 이용한다고 할 때 데이터 센터가 유럽에만 있으면 유럽 사용자에 비해 아시아 사용자는 응답 속도가 느릴 것이다. 따라서 데이터 센터를 사용하여 응답 속도를 개선해보자.

두 개의 데이터 센터를 이용하여 사용자와 가장 가까운 데이터 센터를 통해 요청을 처리한다. 통상적으로 사용자의 위치에 따라 도메인 이름을 어떤 IP 주소로 변환할지 결정하는데 이를 DNS 서비스가 해준다. 그 결과 어떤 방식에 따라 해당 사용자를 어떤 데이터 센터로 보내질 정하게 된다. 만약 둘 중 하나의 데이터 센터에 장애가 발생하면 다른 하나의 데이터 센터로 모든 요청이 가도록 하여 가용성을 높인다.
이러한 다중 데이터 센터를 구축하기 위해서는 여러 기술적 난제를 해결해야 한다. 어떻게 데이터 센터로 트래픽을 보낼지에 대한 효율적인 방안을 도출해야 한다. 지리적 DNS가 이에 대한 휼륭한 예시이다. 또한 데이터 센터마다 별도의 데이터베이스가 존재하는데 어떻게 이 데이터 동기화할 수 있을지에 대해서도 고민해야 한다. 다중 데이터 센터에 어떻게 배포하고 테스트할지에 대해서도 해결해야 한다.
메시지 큐는 메시지의 무손실을 보장하는 비동기 통신을 지원하는 컴포넌트이다. 메시지 큐 아키텍처는 생산자/발행자(Producer/Publicsher)라고 불리는 입력 서비스가 메시지를 만들어 메시지 큐에 발행한다. 큐에는 보통 소비자 혹은 구독자라 불리는 서비스 혹은 서버가 연결되어 있고 메시지를 받아 그에 맞는 동작을 수행한다.

메시지 큐를 이용하면 서비스 또는 서버 간의 결합이 느슨해져 규모의 확장성이 보장되어야 하는 어플리케이션을 구성하기 좋다. 발행자는 소비자 프로세스가 다운되어도 발행이 가능하고 소비자는 생산자 서비스가 가용한 상태가 아니더라도 메시지를 수신할 수 있다.
메시지 큐는 주로 MSA라는 마이크로 서비스 아키텍처에서 많이 사용된다. Kafka나 RabbitQ 등의 기술을 사용하여 서버간의 비동기 통신을 지원하여 서비스 간의 의존성을 줄이고 확장성을 높인다.
서비스의 크기가 커지면 커질수로 로그, 메트릭, 자동화는 필수적인 요소이다. 로그는 에러 로그를 모니터링하는 것이 중요하다. 시스테므이 오류와 문제를 보다 쉽게 찾아낼 수 있다. 단일 서버마다 로그를 각각 모니터링해도 되지만 다중 서버라만 하나의 통일된 모니터링 시스템을 구축하면 효율적인 로그 모니터링이 가능하다.
메트릭은 사업적인 측면에서 굉장히 중요한 요소이다. 메트릭을 잘 수집한다면 사업 현황에 대한 중요한 정보를 얻을 수 있고 서비스의 안정성을 확보할 수 있다. 메트릭 중 CPU, 메모리, 디스크 I/O에 관한 메트릭을 수집하거나 일별 능동 사용자, 수익, 재방문 같은 핵심 비즈니스 메트릭 등을 얻어 분석할 수 있다.
시스템이 커지고 복잡해지면서 개발자가 하나하나 배포하거나 테스트할 수 없다. 따라서 생산성을 높이기 위해 자동화 도구를 이용해야 한다. CI/CD를 통해 자동으로 빌드, 테스트, 배포 등을 해주어 생상성을 높일 수 있다.
저장할 데이터가 많아지고 서비스가 커지고 트래픽이 많아지면 데이터베이스에 부하도 증가한다. 데이터베이스도 규모의 확장에 맞게 증설할 방법을 찾아야 한다.
데이터베이스도 수직적 확장과 수평적 확장 방법이 있는데 수직적 확장은 기존 서버에 더 많은, 또는 고성능의 자원을 추가하는 방법이다. 이는 수직적 확장의 문제점을 그대로 가지고 있지만 잘 운용한다면 효율적인 방안이 될 수 있다. 수평적 확장은 샤딩이라고도 부른는데, 더 많은 서버를 추가함으로써 성능을 향상시키는 방법이다.

샤딩은 대규모 데이터베이스를 샤드라고 부르는 작은 단위로 분할하는 기술이다. 샤드는 같은 스키마를 쓰지만 샤드에 보관되는 데이터는 중복이 없다. 샤딩에 중요한 요소는 샤딩 키를 어떻게 정하느냐인데 샤딩 키는 파티션 키라고도 부리우는데 이 샤딩 키를 통해 데이터를 고르게 분배하는 것이 샤딩의 중요한 요소이다.

샤딩은 데이터베이스를 분할하는 훌륭한 기술이지만 복잡한 문제가 생긴다. 예를 들어 데이터가 너무 많아 하나의 샤드로는 더 이상 감당하기 어렵거나 샤드 간 데이터 분포가 균등하지 못해 샤드에 할당된 공간이 부족한 일을 해결해야 한다. 또한 특정 샤드에 질의가 집중되어 데이터베이스를 분할하는 의미가 없는 일이 생길 수 있다. 이를 유명인사, 핫스팟 문제라고 하는데 한 샤드에 집중된 질의가 몰리면서 샤드에 부하가 오는 것을 말한다. 이러한 샤딩의 문제를 해결할 수 있어야지만 데이터베이스를 샤딩하는 효과를 가져올 수 있다.
지금까지 소수의 사용자가 사용하는 서버부터 전세계에서 사용하는 서비스까지 어떻게 아키텍처를 설계해야 할지에 대해 단계적으로 알아보았다. 
이렇게 로드밸런서, 데이터 센터, 메시지 큐 등등을 적용하면서 각각의 기술을 도입하면서 얻는 장점과 한계, 단점, 해결해야할 문제점들에 대해 알아가면서 설계라는 것이 굉장히 복잡하고 생각해야 할 것이 많은지 알게되었다. 우리가 많이 사용하는 SNS, OTT, Google, Amazon 같이 세계적인 대기업은 이러한 것 이상의 설계를 할 것이다. 하지만 모두 각각의 기업에 맞는 기술과 설계를 통해 최고의 효율을 내고 있다는 것에 감탄하며 설계가 굉장히 중요한 요소라는 것을 이 내용을 보고 느끼게 되었다.
참고