Multiple Clocks and Exceptions

SungchulCHA·2024년 7월 9일
0

DC

목록 보기
7/8

Multiple Synchronous Clocks

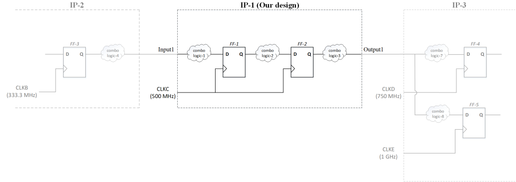
Multiple Clock

Input Dealy

multiple clock input delay
create_clock -period 2.0 [get_ports CLKC]
create_clock -period 3.0 -name CLKB

set_input_delay 0.55 -clock CLKB -max [get_ports IN1]

Maximum Internal Input Dealy
CLKC은 4ns에서 set, CLKB는 3ns에서 set → 4ns - 3ns = 1ns
tN<1.00.55tsetupt_N < 1.0 - 0.55 - t_{setup}
report_interclock_relation
같이 set 되는 "common" 시간 확인 가능

Output Delay

multiple clock output delay
create_cloc k-period 2.0 [get_ports CLKC]

create_clock -period 1.0 -name CLKE
create_clock -period [expr {1000/750.0}] -name CLKD

set_output_delay -max .15 -clock CLKD [get_ports OUT1]
set_output_delay -max .52 -clock CLKE -add_Delay [get_ports OUT1]

Maximum Internal Output Delay
CLKC는 0ns에서 set, CLKE는 1ns에서 set → 1ns - 0ns = 1ns
tS<1.00.52t_S < 1.0 - 0.52
CLKC는 2ns에서 set, CLKD는 2.67ns에서 set → 2.67 - 2ns = 0.67ns
tS<0.670.15t_S < 0.67 - 0.15

Uncertainty

create_clock -period 3 [get_ports Clk1]
create_clock -period 2 [get_ports Clk2]

set_clock_uncertainty -setup 0.10 [get_clocks Clk1]
set_clock_uncertainty -setup 0.18 [get_clocks Clk1]

set_clock_uncertainty -setup 0.15 \
 -from [get_clocks Clk1] -to [get_clocks Clk2]

Generated Clocks

분주회로

Instatiated Register

instantiated clock
create_clock -p 5 [get_ports CLK]

create_generated_clock -devide_by 2 -name CLK_SLW \
    -source [get_ports CLK] [get_pins FF1/Out]

RTL Register

code로만 있고 instantiated 안되어 있을 때

create_clock -p 5 [get_ports CLK]

create_generated_clock -devide_by 2 -name CLK_SLW \
    -source [get_ports CLK] [get_pins DIV_CLK_reg/Q]

RTL code 에서 작성된 signal(reg) 이름을 사용

Register cell name : <OUTPUT_SIGNAL_NAME>_reg
Clock pin : clocked_on
Data pin : next_state
Q output pin : Q
Q-bar output pin : QN
Asynch reset : clear
Asynch set : preset


Mutually Exclusive Synchronous Clocks

Logically Exclusive Clocks

logically exclusive clock #1
create_clock -period 2.0 [get_ports CLK1]
create_clock -period [expr {1000/750.0}] [get_ports CLK2]

set_output_delay -max .15 -clock CLK1 [get_ports OUT1]
set_output_delay -max .52 -clock CLK2 -add_delay [get_ports OUT1]

set_false_path -from [get_clocks CLK1] -to [get_clocks CLK2]
set_false_path -from [get_clocks CLK2] -to [get_clocks CLK1]
# OR
set_clock_groups -logically_exclusive -group CLK1 -group CLK2

Example #2

logically exclusive clock #2
create_clock -period 2.0 [get_ports CLK1]
create_clock -period [expr {1000/750.0}] [get_ports CLK2]

set_output_delay -max .15 -clock CLK1 [get_ports OUT1]
set_output_delay -max .52 -clock CLK2 -add_delay [get_ports OUT1]

set_false_path -from [get_clocks CLK1] \
               -through [get_ports OUT1] -to [get_clocks CLK2]
set_false_path -from [get_clocks CLK2] \
               -through [get_ports OUT1] -to [get_clocks CLK1]

Example #3

logically exclusive clock #3
create_clock -p ... [get_ports CLKA]
create_clock -p ... [get_ports CLKB]

set_clock_groups -logically_exclusive -group CLKA -group CLKB

Example #4

logically exclusive clock #4
create_clock -p ... [get_ports CLKA]
create_clock -p ... [get_ports CLKB]
create_clock -p ... [get_ports CLKC]
create_clock -p ... [get_ports CLKD]

set_clock_groups -logically_exclusive -group CLKA -group CLKB
set_clock_groups -logically_exclusive -group CLKC -group CLKD

Example #5

logically exclusive clock #5
create_clock -p ... [get_ports CLKA]
create_clock -p ... [get_ports CLKB]
create_clock -p ... [get_ports CLKC]
create_clock -p ... [get_ports CLKD]

set_clock_groups -logically_exclusive \
                 -group "CLKA CLKC" -group "CLKB CLKD"

Physically Exclusive

DC에서는 logically나 physically나 똑같이 clock끼리 서로 검사 안함
PT에서 Crosstalk 계산할 때 사용

create_clock -period 3 -name CLK1 [get_ports CLK]
create_clock -period 4 -name CLK2 -add [get_ports CLK]

set_clock_groups -physically_exclusive -group CLK1 - group CLK2

Example

Example
create_clock -period 5 -name FST_CLK [get_ports CLK1]
create_clock -period 8 -name SLW_CLK [get_ports CLK2]

create_generated_clock -devide_by 1 -name MCLK1 \
    -source CLK1 [get_pins I_CLK_MUX/Z]
create_generated_clock -devide_by 1 -name MCLK2 -add \
    -source CLK2 [get_pins I_CLK_MUX/Z]

set_clock_groups -physically_exclusive -group MCLK1 -group MCLK2

Asynchronous Clocks

create_clock -period 3 [get_ports CLKA]
create_clock -period 2 [get_ports CLKB]

set_clock_groups -asynchronous -group CLKA -group CLKB

Multi-Cycle Paths

Multi-cycle Constraints
create_clock -period 1 [get_ports CLK]
set_multicycle_path -setup 6 -from {A_reg[*] B_reg[*]} -to C_reg[*]
set_multicycle_path -setup 5 -from {A_reg[*] B_reg[*]} -to C_reg[*]


0ns 에서 CLK의 Launch edge, 6ns에서 CLK의 Capture edge 발생
THAdder_Delay6TSUT_H \leq Adder\_Delay \leq 6-T_{SU}

Example

multi-cycle clock
set_multicycle_path -setup 2 -through U_Mult/Out
set_multicycle_path -hold 1 -through U_Mult/Out

# OR
set_multicycle_path -setup 2 -from A_reg/clockd_on \
  -through U_Mult/Out -to B_reg/next_state
set_multicycle_path -hold 1 -from A_reg/clockd_on \
  -through U_Mult/Out -to B_reg/next_state
profile
Myongji UNIV. B.S. in Electronic Engineering

0개의 댓글